Cum se joacă serviciile secrete cu mintea celor care se uită la TV sau navighează pe Internet!
Publicat pe 02.10.2016 la 23:59 Actualizat pe 02.10.2016 la 23:46
"Paranoicii" care suspectau că serviciile secrete încearcă să manipuleze populaţia cu ajutorul calculatorului şi televizorului au motive temeinice de îngrijorare!
"Paranoicii" care suspectau că serviciile secrete încearcă să manipuleze populaţia cu ajutorul calculatorului şi televizorului au motive temeinice de îngrijorare!
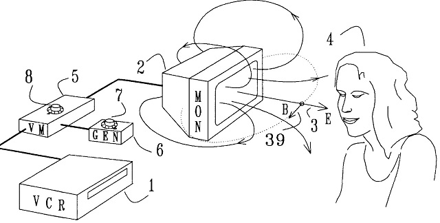
O invenţie patentată în SUA demonstrează faptul că, televizorul este practic o armă în mâna celor care doresc să ne controleze, alături de calculator. Potrivit informaţiilor publice, este vorba despre brevetul nr. US 6506148 B2, al invenției "Manipularea sistemului nervos de către câmpurile electromagnetice de la monitoare (TV)". Conform inventatorului, populaţia poate fi controlată extrem de uşor, prin transmiterea unor imagini sau cu ajutorul câmpului electromagnetic emis de aceste aparate, care pot transmite creierului uman ce să facă şi cum să acţioneze, în funcţie de frecvenţele folosite de cei care vor să stăpânească masele.

"Efecte fiziologice au fost observate la subiecți umani, ca răspuns la stimularea pielii cu câmpuri electromagnetice slabe care pulsează cu anumite frecvențe apropiate de ½ Hz sau 2,4 Hz, pentru a excita o rezonanță senzorială. Multe monitoare de calculator și tuburi TV, atunci când afișează imagini în impulsuri, emit câmpuri electromagnetice pulsate de amplitudini suficiente pentru a provoca o astfel de excitație. Prin urmare, este posibil ca sistemul nervos al unui subiect să fie manipulat prin pulsarea imaginilor afișate pe un monitor de calculator sau televizor din apropiere. Pentru televizoare, pulsarea imaginilor poate fi înglobată în materialul programului, sau poate fi suprapusă prin modularea unui flux video, fie ca un semnal RF sau ca un semnal video. Imaginea afișată pe un monitor de calculator poate fi făcută să pulseze în mod eficient printr-un program de calculator simplu. Pentru anumite monitoare, câmpurile electromagnetice pulsate capabile să excite rezonanțe senzoriale la subiecții din apropiere pot fi generate chiar și dacă imaginile afișate sunt pulsate cu intensitate subliminală", explică inventatorul.



